常州龙越通讯器材有限公司
首页
企业简介
产品大全
联系我们
企业信息
在线留言
产品大全
Product
输气站为什么需要防爆对讲机?
iphone生产从中国转到印度 苹果公司的大局观意味着什么
720芯 720芯光缆交接箱 尺寸 规格 型号. 宁波慈溪市欣昊通信设备厂
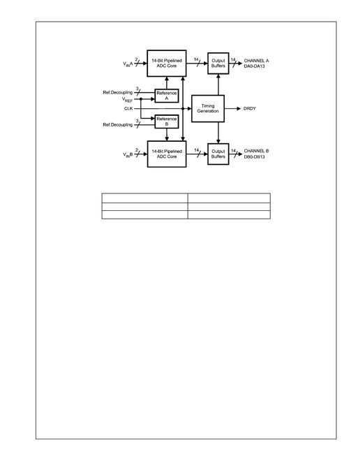
,ic型号adc14dc105,adc14dc105 pdf资料,adc14dc105经销商,ic,电子元器件
沧州传媒网,沧州广电服务,沧州广告传媒服务公司第5页 城际分类
12芯束状尾纤厂家图片 高清图 细节图 慈溪市宏玖通信设备厂 捷配仪器仪表网
防爆电话机图片|防爆电话机样板图|防爆电话机-西安广腾电子科技
齐全-576芯三网合一光缆交接箱 _供应信息_商机_中国环保在线
JG2-35-6
【外观好看,声音洪亮,捷灵通ST518对讲机】价格,厂家,图片,对讲机,东莞市石龙佳讯通通讯设备经营部-
摩托罗拉GP2000对讲机产品图片7素材-IT168对讲机图片大全
做数字中国排头兵 记武汉电信潘圣宇劳模创新工作室
安捷伦e4445a频谱分析仪3hz 13.2ghz ,深圳市宝安区沙井承恒通讯设备商行
蓝天下的移动信号塔
供应ftth光纤分纤箱
288芯光缆交接箱 ,慈溪市东亿通信设备厂
【商会动态】第一届汉中商会企业品牌活动周,线上启动正式开始,敬请关注!
供应电子通讯设备重型包装箱_包装_世界工厂网中国产品信息库
【厂家直销SMC12芯分纤箱 楼道箱 配线箱 室外箱】价格,厂家,图片,其他光纤设备,宁波新脉通信设备-
优质光交箱SMC光缆交接箱 厂家低价批发288芯2.0 3.0光缆配线架 ODF高品质光纤配线架288芯光交箱图片_高清图_细节图-慈溪市华维通信设备厂 -
如若转载,请注明出处:http://www.sjpjpt.com/product/list-5.html
第一页
上一页
3
4
5
6
7
下一页